iNeuML数据分析及挖掘,对数据标记、模型训练、工况预警及寻优
- 2019-05-11 21:31:00
- iNeuML 原创
- 14008
机器学习(iNeuML)和算法分析是iNeuOS的核心组件,对设备容器(iNeuKernel)设备运行容器产生的数据进行数据样本标记、数据算法模型训练、工况智能预警。iNeuAI要从体量巨大、结构繁多的数据中挖掘出潜藏在数据中的规律和知识,从而使数据发挥最大化的价值,是iNeuOS云端操作系统的一个核心目标。
主要解决的问题:(1)弥补逻辑判断和推理规划无法实现大规模多维数据空间分析的问题。(2)数据空间探索,多维数据空间相关性分析,找出相关和非相关的影响因素。
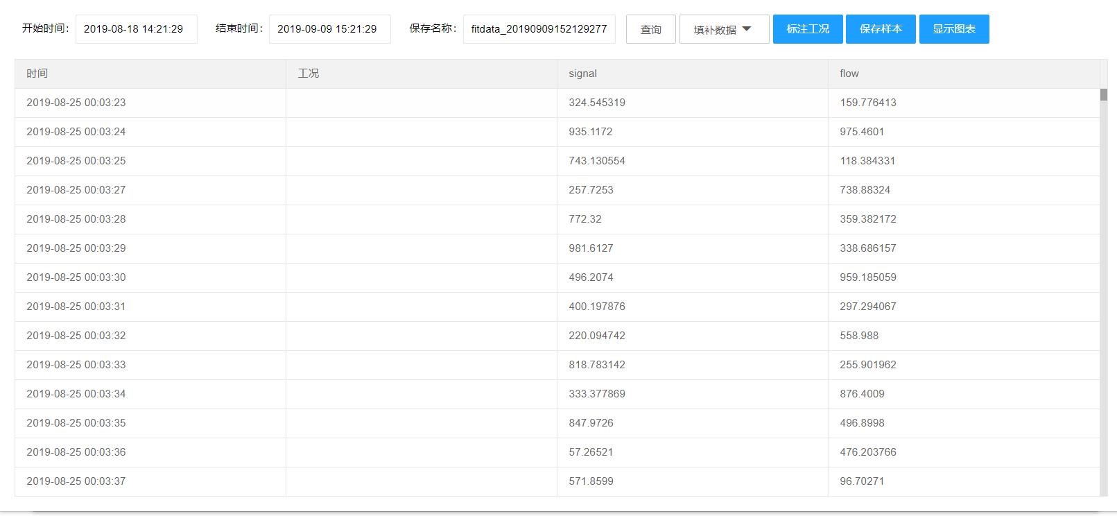
机器学习应用,如下图:
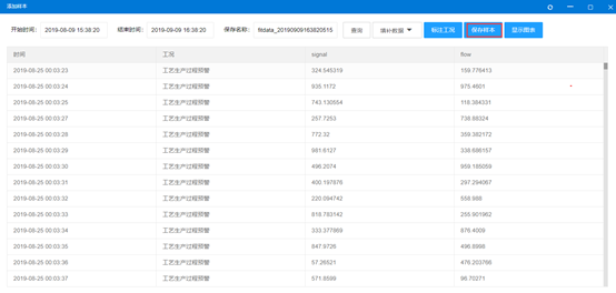
算法分析应用,如下图:
文章分类






































